Hast du ein Konto?
Logge dich ein, damit es beim Checkout schneller geht.
Verfügbarkeit für Abholungen konnte nicht geladen werden
Artikelnummer: 300949
Lieferzeit: 2-3 Werktage
Vollständige Details anzeigen

Mini-Klappschwimmerschalter – Kunststoff
handvergossen in Wepuran®
2,5 m LAPP Ölflex® 108 Leitung (2 × 0,5 mm²)
Betriebsanleitung
Der Mini-Klappschwimmerschalter wird bei SCHABUS in Handarbeit gefertigt, geprüft und vollständig in Wepuran® vergossen.
Der Verguss sorgt für:
dauerhafte Dichtigkeit
hohe mechanische Stabilität
Schutz vor Feuchtigkeit und Vibration
langlebige Funktion auch unter anspruchsvollen Bedingungen
Im Inneren arbeitet ein hochwertiger, wasserdicht vergossener Meder-Reedkontakt, fest verlötet und präzise justiert.
Der Schwimmerschalter ist für den seitlichen Einbau in Tanks oder Behälter vorgesehen.
Montage über Gewinde mit Dichtung
sichere Fixierung über Kontermutter
kompakte Bauform für beengte Einbausituationen
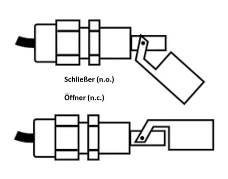
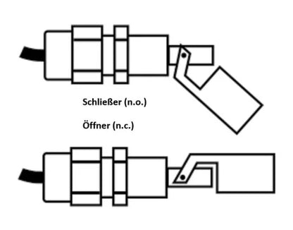
Durch Drehen des Schwimmerkörpers um 180° lässt sich die gewünschte Schaltfunktion einstellen:
Schließer (NO)
Öffner (NC)
Keine Zusatzteile erforderlich.
Diese Variante ist mit einer besonders robusten LAPP Ölflex® 108 Leitung (2 × 0,5 mm²) ausgestattet.
Eigenschaften:
öl- und chemikalienbeständig
mechanisch hoch belastbar
flammwidrig
für industrielle Umgebungen geeignet
Dadurch ist der Schwimmerschalter auch für anspruchsvollere Installationen geeignet – z. B. in Technikräumen, Industrieanlagen oder Werkstätten.
Diese Ausführung ist für höhere Spannungen ausgelegt und kann – unter Beachtung der Sicherheitsvorschriften – auch direkt 230-V-Relais oder Steuerkreise schalten.
⚠️ WICHTIG:
Der Einsatz in 230-V-Stromkreisen ist nur zulässig mit FI-Schutzschalter (RCD).
Industrie- und Technikräume
Tanks & Behälter mit ölhaltigen Medien
Pumpensteuerungen
Anlagen mit 230-V-Steuerkreisen
Anwendungen mit erhöhter mechanischer Belastung
Geeignet für Flüssigkeiten mit einer Dichte ab ca. 0,7 g/cm³.
Auch zum direkten Schalten von 230-Volt-Relais (FI-Schutz erforderlich!)
⚠️ Achtung: Der Einsatz in 230-Volt-Stromkreisen ist nur zulässig mit FI-Schutzschalter (RCD)!
Benötigen Sie ein längeres Ölflex-Anschlusskabel? Kein Problem – wir fertigen Ihre Wunschlänge gerne individuell.
WICHTIGER SICHERHEITSHINWEIS:
Ein falscher elektrischer Anschluss kann die empfindlichen Reedkontakte zerstören und dadurch eine Fehlfunktion verursachen – im schlimmsten Fall mit Personen- oder Sachschäden als Folge.
Bitte beachten Sie deshalb:
Kein direkter Anschluss an induktive Lasten (z. B. Relais, Magnetventile)
Kein direkter Anschluss an kapazitive Lasten (z. B. SPS/PLS) oder lange Leitungen > 50 m
Zulässige Schaltleistung darf nicht überschritten werden
👉 Bei induktiven Lasten ist ein Schutz mittels RC-Glied oder Freilaufdiode zwingend erforderlich.

| Spannung | Widerstand | Kapazität | RC-Glied-Typ |
|---|---|---|---|
| AC 24 V | 100 Ω | 0,33 μF | A 3/24 |
Bei der Verwendung von Fremdnetzgeräten ist es notwendig, eine Freilaufdiode (z.B. 1N4148) parallel zum Relais oder Schütz zu schalten.
Die Funktion der Freilaufdiode besteht darin, Spannungsspitzen, die beim Abschalten des Relais entstehen, zu unterdrücken. Dadurch werden der Stromfluss und die Spannung minimiert, wodurch die empfindlichen Reed-Kontakte geschützt werden.

WEEE-NR.: DE91394868
| Betriebsspannung | AC; 230 V ⁓ | 1,0 A ⁓ | max. 10 W, DC; 30 V = | 0,5 A = | max. 10 W |
|---|---|
| Funktionsbereich | -20°C / +80°C max. |
| Schutzart | IP 67 |
| Abmessungen(HxBxT) | |
| Druck | drucklos |
| Gewinde | M16 x 1,5, ø Außen: 16 mm, ø Dichtring: 24 mm, ø Schaft. 12 mm |
| Relaiskontakt | Öffner (NC) / Schließer (NO) |
| Leitung | 2,5 LAPP Ölflex smart 108 (2×0,5 mm²) |
| Material | Kunststoff, PP, Wepuran® Kunststoff, handgegossen |
| Montage | Einbautiefe 57 mm, Gewinde 15,8 mm, seitlich, horizontal |
| Sicherheitshinweis | nur in Stromkreisen einsetzen, die per FI-Schalter abgesichert sind |
Mini-Klappschwimmerschalter – Kunststoff
handvergossen in Wepuran®
2,5 m LAPP Ölflex® 108 Leitung (2 × 0,5 mm²)
Betriebsanleitung
Der Mini-Klappschwimmerschalter wird bei SCHABUS in Handarbeit gefertigt, geprüft und vollständig in Wepuran® vergossen.
Der Verguss sorgt für:
dauerhafte Dichtigkeit
hohe mechanische Stabilität
Schutz vor Feuchtigkeit und Vibration
langlebige Funktion auch unter anspruchsvollen Bedingungen
Im Inneren arbeitet ein hochwertiger, wasserdicht vergossener Meder-Reedkontakt, fest verlötet und präzise justiert.
Der Schwimmerschalter ist für den seitlichen Einbau in Tanks oder Behälter vorgesehen.
Montage über Gewinde mit Dichtung
sichere Fixierung über Kontermutter
kompakte Bauform für beengte Einbausituationen
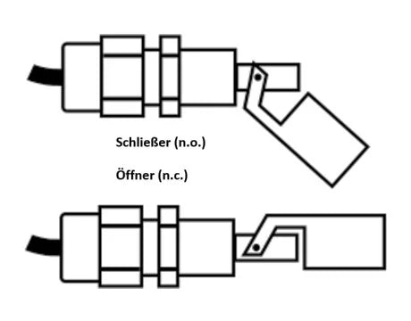
Durch Drehen des Schwimmerkörpers um 180° lässt sich die gewünschte Schaltfunktion einstellen:
Schließer (NO)
Öffner (NC)
Keine Zusatzteile erforderlich.
Diese Variante ist mit einer besonders robusten LAPP Ölflex® 108 Leitung (2 × 0,5 mm²) ausgestattet.
Eigenschaften:
öl- und chemikalienbeständig
mechanisch hoch belastbar
flammwidrig
für industrielle Umgebungen geeignet
Dadurch ist der Schwimmerschalter auch für anspruchsvollere Installationen geeignet – z. B. in Technikräumen, Industrieanlagen oder Werkstätten.
Diese Ausführung ist für höhere Spannungen ausgelegt und kann – unter Beachtung der Sicherheitsvorschriften – auch direkt 230-V-Relais oder Steuerkreise schalten.
⚠️ WICHTIG:
Der Einsatz in 230-V-Stromkreisen ist nur zulässig mit FI-Schutzschalter (RCD).
Industrie- und Technikräume
Tanks & Behälter mit ölhaltigen Medien
Pumpensteuerungen
Anlagen mit 230-V-Steuerkreisen
Anwendungen mit erhöhter mechanischer Belastung
Geeignet für Flüssigkeiten mit einer Dichte ab ca. 0,7 g/cm³.
Auch zum direkten Schalten von 230-Volt-Relais (FI-Schutz erforderlich!)
⚠️ Achtung: Der Einsatz in 230-Volt-Stromkreisen ist nur zulässig mit FI-Schutzschalter (RCD)!
Benötigen Sie ein längeres Ölflex-Anschlusskabel? Kein Problem – wir fertigen Ihre Wunschlänge gerne individuell.
WICHTIGER SICHERHEITSHINWEIS:
Ein falscher elektrischer Anschluss kann die empfindlichen Reedkontakte zerstören und dadurch eine Fehlfunktion verursachen – im schlimmsten Fall mit Personen- oder Sachschäden als Folge.
Bitte beachten Sie deshalb:
Kein direkter Anschluss an induktive Lasten (z. B. Relais, Magnetventile)
Kein direkter Anschluss an kapazitive Lasten (z. B. SPS/PLS) oder lange Leitungen > 50 m
Zulässige Schaltleistung darf nicht überschritten werden
👉 Bei induktiven Lasten ist ein Schutz mittels RC-Glied oder Freilaufdiode zwingend erforderlich.

| Spannung | Widerstand | Kapazität | RC-Glied-Typ |
|---|---|---|---|
| AC 24 V | 100 Ω | 0,33 μF | A 3/24 |
Bei der Verwendung von Fremdnetzgeräten ist es notwendig, eine Freilaufdiode (z.B. 1N4148) parallel zum Relais oder Schütz zu schalten.
Die Funktion der Freilaufdiode besteht darin, Spannungsspitzen, die beim Abschalten des Relais entstehen, zu unterdrücken. Dadurch werden der Stromfluss und die Spannung minimiert, wodurch die empfindlichen Reed-Kontakte geschützt werden.

WEEE-NR.: DE91394868
| Betriebsspannung | AC; 230 V ⁓ | 1,0 A ⁓ | max. 10 W, DC; 30 V = | 0,5 A = | max. 10 W |
|---|---|
| Funktionsbereich | -20°C / +80°C max. |
| Schutzart | IP 67 |
| Abmessungen(HxBxT) | |
| Druck | drucklos |
| Gewinde | M16 x 1,5, ø Außen: 16 mm, ø Dichtring: 24 mm, ø Schaft. 12 mm |
| Relaiskontakt | Öffner (NC) / Schließer (NO) |
| Leitung | 2,5 LAPP Ölflex smart 108 (2×0,5 mm²) |
| Material | Kunststoff, PP, Wepuran® Kunststoff, handgegossen |
| Montage | Einbautiefe 57 mm, Gewinde 15,8 mm, seitlich, horizontal |
| Sicherheitshinweis | nur in Stromkreisen einsetzen, die per FI-Schalter abgesichert sind |