Hast du ein Konto?
Logge dich ein, damit es beim Checkout schneller geht.
Verfügbarkeit für Abholungen konnte nicht geladen werden
Artikelnummer: 200949
Lieferzeit: 2-3 Werktage
Vollständige Details anzeigen

Mini-Klappschwimmerschalter Kunststoff
2,5 m LIYY-Steuerleitung 2 × 0,14 mm²
Betriebsanleitung
Der seitlich montierbare Klappschwimmerschalter („broken finger“) wird in Handarbeit gefertigt und einzeln geprüft.
Er eignet sich ideal zur Füllstandsüberwachung in Verbindung mit unseren Wassermeldern SHT 5000, SHT 5001 und SHT 5002.
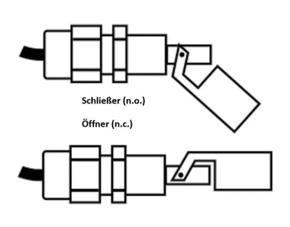
Durch einfaches Drehen des Schwimmerkörpers um 180° kann die Funktion festgelegt werden:
Schließer (NO) – Kontakt schließt bei steigendem Pegel
Öffner (NC) – Kontakt öffnet bei steigendem Pegel
Die Montage erfolgt seitlich über eine Dichtungsmanschette mit Kontermutter.
Hochwertiger Meder-Reedkontakt
Komplett mit Wepuran® vergossen
Wartungsfrei & verschleißfrei
Für Niederspannungs-Steuerkreise
Kompatibel mit:
SHT 5000
SHT 5001
SHT 5002
Verkabelung über dünne, ungeschirmte LIYY-Leitung
(2 × 0,14 mm²), max. 50 m Leitungslänge
📏 Kabelverlängerung bis 50 Meter möglich
Die verwendeten LIYY-Kabel sind nur kurzzeitig wasserfest und laut Hersteller flammwidrig, adhäsionsarm und selbstverlöschend.
Sie sind widerstandsfähig gegenüber Ölen, Fetten, Kühl- und Schmiermitteln, jedoch nicht für dauerhaften Wasserkontakt geeignet.
⚠️ Die LIYY-Leitungen dürfen niemals parallel zu 230 V-Netzleitungen verlegt werden, um Störungen und Sicherheitsrisiken zu vermeiden.
WICHTIGER SICHERHEITSHINWEIS:
Ein falscher elektrischer Anschluss kann die empfindlichen Reedkontakte zerstören und dadurch eine Fehlfunktion verursachen – im schlimmsten Fall mit Personen- oder Sachschäden als Folge.
Bitte beachten Sie deshalb:
Kein direkter Anschluss an induktive Lasten (z. B. Relais, Magnetventile)
Kein direkter Anschluss an kapazitive Lasten (z. B. SPS/PLS) oder lange Leitungen > 50 m
Zulässige Schaltleistung darf nicht überschritten werden
👉 Bei induktiven Lasten ist ein Schutz mittels RC-Glied oder Freilaufdiode zwingend erforderlich.

| Spannung | Widerstand | Kapazität | RC-Glied-Typ |
|---|---|---|---|
| AC 24 V | 100 Ω | 0,33 μF | A 3/24 |
Bei der Verwendung von Fremdnetzgeräten ist es notwendig, eine Freilaufdiode (z.B. 1N4148) parallel zum Relais oder Schütz zu schalten.
Die Funktion der Freilaufdiode besteht darin, Spannungsspitzen, die beim Abschalten des Relais entstehen, zu unterdrücken. Dadurch werden der Stromfluss und die Spannung minimiert, wodurch die empfindlichen Reed-Kontakte geschützt werden.
🔌 LIYY-Steuerleitung 2 × 0,14 mm² (Meterware)
Für fachgerechte Verlängerungen bis max. 50 m Gesamtleitungslänge je Meldelinie.
Nur dünne, ungeschirmte LIYY-Leitungen verwenden – größere Querschnitte können Fehlfunktionen verursachen.
| Betriebsspannung | max. 25 V AC / 60 V DC/ 0,5 A |
|---|---|
| Schaltleistung | max. 10 Watt |
| Funktionsbereich | -20°C / +80°C max. |
| Schutzart | IP 67, Kabel nur kurzzeitig wasserfest |
| Abmessungen(HxBxT) | |
| Gewicht | 0,07 kg |
| Leitung | 2,5 m | 2×0,14mm2 | weiß |
| Montage | seitlich, horizontal |
Mini-Klappschwimmerschalter Kunststoff
2,5 m LIYY-Steuerleitung 2 × 0,14 mm²
Betriebsanleitung
Der seitlich montierbare Klappschwimmerschalter („broken finger“) wird in Handarbeit gefertigt und einzeln geprüft.
Er eignet sich ideal zur Füllstandsüberwachung in Verbindung mit unseren Wassermeldern SHT 5000, SHT 5001 und SHT 5002.
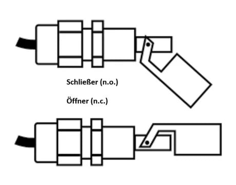
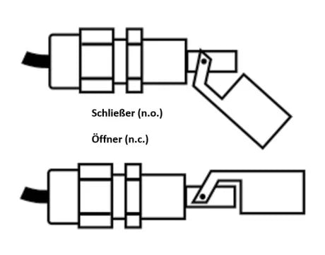
Durch einfaches Drehen des Schwimmerkörpers um 180° kann die Funktion festgelegt werden:
Schließer (NO) – Kontakt schließt bei steigendem Pegel
Öffner (NC) – Kontakt öffnet bei steigendem Pegel
Die Montage erfolgt seitlich über eine Dichtungsmanschette mit Kontermutter.
Hochwertiger Meder-Reedkontakt
Komplett mit Wepuran® vergossen
Wartungsfrei & verschleißfrei
Für Niederspannungs-Steuerkreise
Kompatibel mit:
SHT 5000
SHT 5001
SHT 5002
Verkabelung über dünne, ungeschirmte LIYY-Leitung
(2 × 0,14 mm²), max. 50 m Leitungslänge
📏 Kabelverlängerung bis 50 Meter möglich
Die verwendeten LIYY-Kabel sind nur kurzzeitig wasserfest und laut Hersteller flammwidrig, adhäsionsarm und selbstverlöschend.
Sie sind widerstandsfähig gegenüber Ölen, Fetten, Kühl- und Schmiermitteln, jedoch nicht für dauerhaften Wasserkontakt geeignet.
⚠️ Die LIYY-Leitungen dürfen niemals parallel zu 230 V-Netzleitungen verlegt werden, um Störungen und Sicherheitsrisiken zu vermeiden.
WICHTIGER SICHERHEITSHINWEIS:
Ein falscher elektrischer Anschluss kann die empfindlichen Reedkontakte zerstören und dadurch eine Fehlfunktion verursachen – im schlimmsten Fall mit Personen- oder Sachschäden als Folge.
Bitte beachten Sie deshalb:
Kein direkter Anschluss an induktive Lasten (z. B. Relais, Magnetventile)
Kein direkter Anschluss an kapazitive Lasten (z. B. SPS/PLS) oder lange Leitungen > 50 m
Zulässige Schaltleistung darf nicht überschritten werden
👉 Bei induktiven Lasten ist ein Schutz mittels RC-Glied oder Freilaufdiode zwingend erforderlich.

| Spannung | Widerstand | Kapazität | RC-Glied-Typ |
|---|---|---|---|
| AC 24 V | 100 Ω | 0,33 μF | A 3/24 |
Bei der Verwendung von Fremdnetzgeräten ist es notwendig, eine Freilaufdiode (z.B. 1N4148) parallel zum Relais oder Schütz zu schalten.
Die Funktion der Freilaufdiode besteht darin, Spannungsspitzen, die beim Abschalten des Relais entstehen, zu unterdrücken. Dadurch werden der Stromfluss und die Spannung minimiert, wodurch die empfindlichen Reed-Kontakte geschützt werden.
🔌 LIYY-Steuerleitung 2 × 0,14 mm² (Meterware)
Für fachgerechte Verlängerungen bis max. 50 m Gesamtleitungslänge je Meldelinie.
Nur dünne, ungeschirmte LIYY-Leitungen verwenden – größere Querschnitte können Fehlfunktionen verursachen.
| Betriebsspannung | max. 25 V AC / 60 V DC/ 0,5 A |
|---|---|
| Schaltleistung | max. 10 Watt |
| Funktionsbereich | -20°C / +80°C max. |
| Schutzart | IP 67, Kabel nur kurzzeitig wasserfest |
| Abmessungen(HxBxT) | |
| Gewicht | 0,07 kg |
| Leitung | 2,5 m | 2×0,14mm2 | weiß |
| Montage | seitlich, horizontal |